国際特許分類E04D13/08 公開2008-82106号公報
弊社HPにより改修用雨樋支持金物に関してのお問合せが多くなっております。
この商品の使用目的としては後ほどご説明致します。
弊社は新築マンションの雨樋工事を数多く施工しております。
多い年は年間5~6万メートルの施工を行って来ました
それに伴い竪樋を固定する金物(支持金具)は大小含め約5万本程使用します。
第二次ベビーブームと境にマンションの建設ラッシュ
が進み、この名古屋市内にも弊社が工事を行ったマンションが沢山立ち並んでいます。
2008年9月に米国第4位の証券会社リーマン・ブラザーズが経営破綻し、
世界経済が一変し、その影響で関連の投資信託を保有している日本企業も多く、
日本経済も大きなダメージを受けました。
特に不動産業界には大きな影響を与え、値下げをしても億ションやタワーマンションの売れ行きは足踏み状態
新築・中古マンション共に価格は下がり、銀行の貸し渋りにより、
不動産事業者やファンドに対して、開発用地や投資物件への融資が下り辛くなり、
新築マンションの供給量も大幅に減りました。
しかし不動産価格の下落もようやく落ち着き、不動産市場は底打ちと
言われるようになりましたが、全国的に見てもまだまだ、新築の着工件数は依然減少の後を絶ちません。
その為、新築を手掛けていた大手のゼネコンも既に建っている築10年20年の修繕が
必要なマンション等の大規模修繕工事の参入が目立つようになりました。
修繕工事と言ってもマンション丸ごと修繕する訳ですから、
金額も相当の額になります。大規模になると数億にもなります。
ですので、黙って指をくわえて見ている訳には行きません
その結果、価格競争が激化し、我々施工業者にまで厳しい予算が、
突き付けられるようになりました。
我々施工業者としましても、努力を続けなければなりません。
弊社は、先程も言いました通り、雨樋工事に関しての実績があることから
新築、修繕に関わらず、以前より増して雨樋に関しての
お問い合わせが増えて着てます。
特に多くなったのは雨樋の改修用支持金具に関して
一般的な竪樋の改修方法は、
竪樋本体は塩ビ製ですので、色アセや塗装が剥れているものはありますが
ほとんどの場合は新たに塗装をしますが
固定してある金物は、鉄製がほとんどですので、腐食が激しく本来の機能を
果たせない危険な物もあります。
従って固定してある金物のみ取り替える場合が多いです。
しかし、雨樋の改修は意外と困難で取付ける以上に手間がかかるものです。
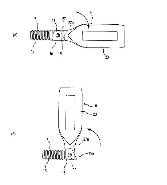
そこで写真の改修用支持金具を作り
この度、特許出願致しました。
国際特許分類E04D13/08 公開2008-82106号公報

この改修用支持金具は、中間が直角に曲がるので
竪樋と外壁の有効幅が一定の場合に容易に固定できます。
詳しいご質問は、直接ご連絡下さい。

金具の強度試験を行い、十分の強度は実証済みです。
引張り強度87.2KN
曲げ強度 72.7KN
KN(キロニュートン)1MT=9.80665KN 1KN=102kg
KNの単位はちょっと便利帳のサイトを参考にして下さい。